
BMW向世界知识产权组织(WIPO)提交一项新专利,将品牌标志性螺旋桨Logo直接设计成螺丝头。这设计虽然视觉效果出众,却可能让喜欢自己动手维修汽车车主无从入手。
螺丝头变成品牌标志螺丝头种类一直多样,专业网站枚举常见螺丝头样式已有十多种,而这只属最基础部分。BMW新专利令螺丝头种类变得更丰富。这家德国汽车制造商于2024年夏天向WIPO提交专利申请,数天前正式公开。
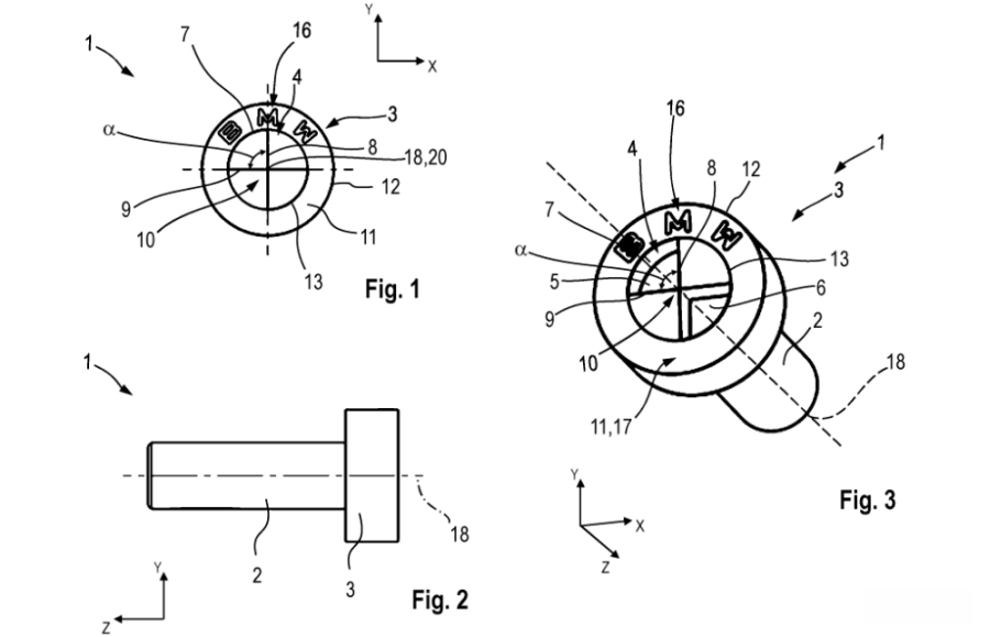
专利涉及螺丝头本身为品牌标志,包括带边框BMW字样及中间螺旋桨式标志。发明人Ernst Lorenz在专利说明书开头指出,螺丝并非新发明,从技术角度看早已是普及技术。不过BMW认为现有螺丝存在问题,驱动结构过于普遍,任何人均可轻易松开或扭紧螺丝连接。

(Source:WIPO)
限制未经授权人员操作BMW表示,通过将螺旋桨Logo作为结构,发明出一种具特定结构螺丝,无法或只能通过极少数标准螺丝工具扭紧和松开。这种设计有效防止常见工具拆卸或安装螺丝,只允许小部分特定人员操作、拆卸或安装螺丝连接。
专利文件显示,这种螺丝主要用于车厢内部,例如驾驶舱与车身结构连接、中控台固定及座椅螺丝连接。这些BMW螺丝拥有多种不同螺丝头形式,包括半圆头、沉头、圆柱头,分为4种不同类型。
维修成本大增对“未经授权人员”设立限制,同样对业余及自行维修车主造成不利,现有工具根本无法扭动这些螺丝。BMW目前不打算向车主提供相应工具,否则将违背专利中强调应用初衷。一旦需要对这些特殊螺丝固定部件进行维修或拆卸,车辆必须送往BMW授权经销商或维修中心,这些维修点会配备所需专用工具。原本看似“型格”设计,随即加重消费者负担。
国际汽车媒体Supercar Blondie指出,此举符合汽车行业限制维修大趋势,制造商日益使用专有零件、锁定软件、加密ECU及受限诊断工具限制谁可维修车辆,即使电池更换或刹车维修等基本任务也可能需要经销商授权。
值得留意是同为德国品牌Mercedes正朝相反方向发展。Mercedes目标让车头灯维修变得更容易,改用螺丝代替胶水固定。申请专利不代表技术定必在现实中应用,BMW这项设计最终是否会推出仍有待观察。
(首图来源:Flickr/作者CC BY 2.0)










